Új szintre lép a testreszabhatóság
Az autóiparban a testreszabhatóság már rég nem extra, hanem alapelvárás – de a Porsche most egy teljesen új szintre emelné ezt a játékot. Egy friss szabadalmi bejegyzés alapján a német gyártó olyan fényezésen dolgozik, amely képes „életre kelni” – és például csak akkor megjeleníteni a versenycsíkokat, amikor a vezető Sport vagy Sport Plus módba kapcsol.

Ez elsőre sci-finek hangzik, de a technológia alapja valójában már ismerős lehet. Hasonló elven működik, mint a Volkswagen Group egyes modelljeiben alkalmazott elektrokromatikus üvegtető, ahol elektromos áram hatására változik az üveg átlátszósága. A különbség annyi, hogy itt nem az árnyékolás a cél, hanem a látvány – és az üzenet.
Mit tud az „e-paper” fényezés?
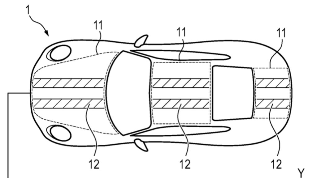
A Porsche elképzelése szerint az úgynevezett „e-paper” bevonat képes lenne dinamikusan módosítani az autó külső megjelenését. A szabadalmi ábrákon például olyan versenycsíkok szerepelnek, amelyek csak nagy teljesítményű üzemmódban jelennek meg, de a rendszer akár egy elektromos modell töltöttségi szintjét is képes lehet vizuálisan kommunikálni a külvilág felé.
A gyártó nem is titkolja a célját: az autó állapotát és tulajdonságait szeretnék „láthatóvá tenni” a környezet számára. Ez különösen az aerodinamikai elemeknél lehet látványos – a hátsó szárny, a splitterek, a légbeömlők vagy az oldalsó elemek kiemelése például azonnal jelezheti, hogy az autó épp sportos üzemmódban van.
Látvány vagy felesleges villogás?
Persze a kérdés adott: szükség van erre? A Porsche eddig sem volt visszafogott, ha a sportosság kommunikálásáról volt szó – elég csak az aktív légterelőkre vagy a hangos sportkipufogóra gondolni. Az „előbukkanó” versenycsíkok viszont egyértelműen új dimenziót nyitnak, és könnyen lehet, hogy inkább a figyelemfelkeltésről szólnak, mint a funkcionalitásról.

A technológia motorsport környezetben még akár indokolt is lehet, de az utcán valószínűleg inkább egyfajta digitális villogásként jelenik majd meg. Az biztos, hogy ha megvalósul, nehéz lesz nem észrevenni – és talán nehéz lesz nem véleményt formálni róla. Egy dolog viszont biztos: a Porsche ismét megmutatta, hogy a jövő autója nemcsak gyorsabb és okosabb lesz, hanem látványosabb is – akár szó szerint.




